生活习惯是决定寿命的重要因素。生活习惯也是决定老年人长寿的关键,我们总是请教老年人,问他们长寿的秘诀,但是我们从很多人哪里得知,长...
GBT 1000-2016 高压线路针式瓷绝缘子尺寸与特性
第 32 卷 第 20 期 中 国 电 机 工 程 学 报 Vol.32 No.20 Jul.15, 2012 88 2012 年 7 月 15 日 Proceedings of...
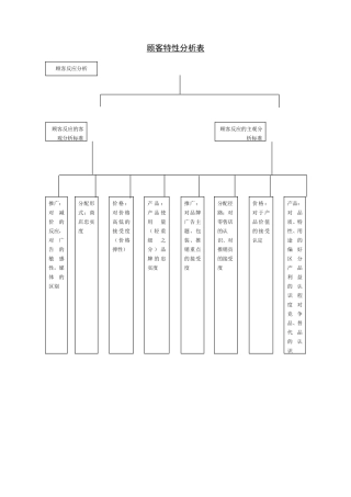
顾客特性分析表顾客反应分析顾客反应的客观分析标准顾客反应的主观分析标准推广:对减价的反应,对广告的敏感性,媒体的区别分配形式:商店...
发酵剂种类对酸奶质构特性及风味物质的影响
辽宁省数学中考试题和答案219
哔哩哔哩网红博主「佳能同学会」作品高质量备份打包833
红色中式升学宴手机海报邀请函海报694
全国各省高考地理(按省份分类)2008-2025真题和答案996
深度技术 Ghost XP SP3 全新系统下载2630页
63套森林防火宣传PPT模板打包下载7150页
辽宁省数学中考试题和答案2190页
哔哩哔哩网红博主「佳能同学会」作品高质量备份打包8330页
哔哩哔哩「糖果果Candy」作品高质量备份打包4720页
B站「阿猫」作品高质量备份打包5520页
