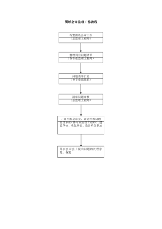
图纸会审监理工作流程布置图纸会审工作(总监理工程师)整理列出问题清单(各专业监理工程师)问题清单汇总(各专业组组长)清单问题审核(...
各种废水处理技术(图纸)电镀废水淀粉废水果汁废水含铅废水合成革废水化工废水化纤废水焦化废水酒精废水垃圾渗滤液磷化废水农药废水 啤酒...
综合工房工业废水深度处理再利用工程图纸
营口市某7万立方米给水厂图纸
循环水零排放水处理工程图纸
新疆某果汁厂污水处理设计图纸
武汉某医院污水处理站改造方案成套图纸
脱硫废水处理工程图纸
四川某自来水厂初步设计报告及图纸
四川某医院污水处理站改造全套图纸
四川某显示器厂污水处理工程应标图纸
四川某化工洗桶废水处理站污水处理工艺图纸
水解酸化-接触氧化工艺全套图纸
山东某农业装备公司磷化污水处理工程图纸
厦门某自来水厂扩建工程滤池及沉淀池图纸
浓缩池施工图纸
宁夏某电厂含煤废水处理系统图纸
某展馆珠江取水系统图纸
某造纸厂污水处理全套图纸
某游泳池、桑拿给排水设计图纸
辽宁省数学中考试题和答案219
哔哩哔哩网红博主「佳能同学会」作品高质量备份打包833
红色中式升学宴手机海报邀请函海报694
全国各省高考地理(按省份分类)2008-2025真题和答案996
深度技术 Ghost XP SP3 全新系统下载2630页
63套森林防火宣传PPT模板打包下载7150页
辽宁省数学中考试题和答案2190页
哔哩哔哩网红博主「佳能同学会」作品高质量备份打包8330页
哔哩哔哩「糖果果Candy」作品高质量备份打包4720页
B站「阿猫」作品高质量备份打包5520页
