电脑桌面
添加盘古文库-分享文档发现价值到电脑桌面
安装后可以在桌面快捷访问

隧道专项监理细则流程图--监理工作流程

隧道专项监理细则流程图--监理工作流程_第1页
1/12
隧道专项监理细则流程图--监理工作流程_第2页
2/12
隧道专项监理细则流程图--监理工作流程_第3页
3/12
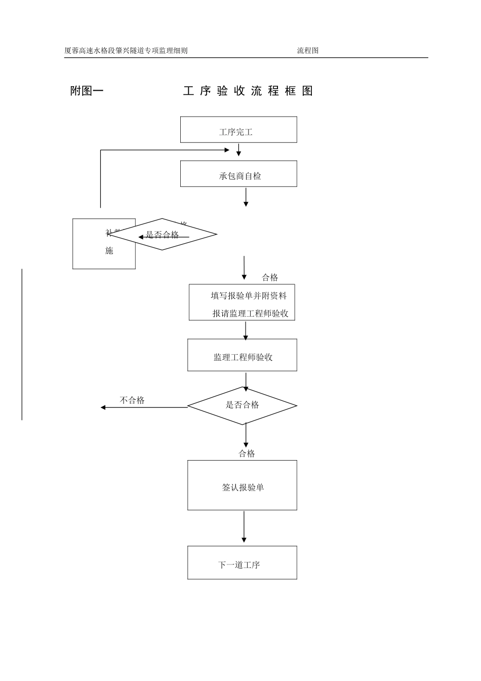
厦蓉高速水格段肇兴隧道专项监理细则 流程图 附图一 工 序 验 收 流 程 框 图工序完工承包商自检 不合格 监理工程师验收 不合格 合格签认报验单下一道工序补救措施 合格填写报验单并附资料报请监理工程师验收是否合格是否合格厦蓉高速水格段肇兴隧道专项监理细则 流程图 附图二 分项工程检验流程框图不批准 批准不 合格合格不合格合格开工准备承包人填报《分项工程开工申请批复》驻地工程师批准 承包人实施每道工序承包人自检 承包人填报《工序报验单》经驻地办专业工程师检验合格否完成至分项工程承包人填报《工程交工证书》总监理工程师签批旁站监理抽样检测计量支付进行下项工程项目厦蓉高速水格段肇兴隧道专项监理细则 流程图 附图三 施工测量监理流程框图 合格 不合格 不合格 不合格 资料交接、现场交接桩 位 复 测施 工 放 样承包人自检 承包人填报《施工放样报验单》驻地办测量工程师抽检 总监理工程师签认《施工放样报验单》承包人开工申请承包人复测核实测量监理工程师抽检 厦蓉高速水格段肇兴隧道专项监理细则 流程图 附图四 自采材料监理流程框图 不合格 不 合格合 合格 合格 不合格不合格合格 合格 原材料或生产厂选择施工单位抽样试验施工单位提供原材料样品及试验报告监理审核材料进场、堆放保管施工单位按批量、频率抽检监理抽检贮存待用运出场外使用时施工单位随机抽检必要时监理抽检用于施工资料正确存档资料正确存档厦蓉高速水格段肇兴隧道专项监理细则 流程图 附图五 外购材料监理流程框图 否 认可 合格不合格合格 不合格施工单位提供产品合格证及试验报告监理审核购买验收进场施工单位按频率抽检监理抽检分类贮存保管使用退货施工单位使用前复核性抽检监理抽检用于施工运出场外资料正确存档资料正确存档厦蓉高速水格段肇兴隧道专项监理细则 流程图 附图六 洞口、明洞、浅埋段施工监理程序施工工艺 监理程序施工放样提出施工方案审报施工材料、机具审核抽检施工材料审核放样检查测量控制审核施工方案明洞边坡稳定 先墙后拱边坡不稳定 先拱后墙半路堑明洞 墙拱交替路堑式明洞拱脚基础好 先拱后墙拱脚松软 跳槽挖井浅埋隧道根据围岩选择开挖方法单侧壁导坑双侧壁导坑留核心土开挖法多台阶法开 挖支 护衬 砌做防水层、盲沟,拱顶、墙背回填承包人自检:位置、标高、净空、衬砌厚度质量、超挖回填、防水层、盲沟衬 砌监理旁站厦蓉高速水格段肇兴隧道专项监理细则 流程图 附图七 锚杆监理流程图附图八 喷射混凝土流程图喷射混凝土原材料试验①筛分试验②含泥量及含有机质试验③压碎值试验抽检喷射混凝土配合比试验①强度②凝结时间施工过程中监理要点①用喷水或喷气清洗岩面②首次喷混凝土厚度不小于 5cm③抽取抗压强度试验④回弹物不得重复利用喷射混凝土厚度检查喷射土抽取抗压强度试验混凝 ( 旁站 )填写喷射混凝土质检单钻孔监理要点①孔位②钻孔角度③孔深④清孔锚杆安装监理要点①锚杆长度②砂浆配合比锚杆抗拨力试验填写锚杆质检单厦蓉高速水格段肇兴隧道专项监理细则 流程图 附图九 初期支护锚喷工艺质量控制流程图监理程序 施工程序合格签认《中间交工证书》填报《中间交工证书》审批施工组织方案检查人员及设备抽检原材料检查施工台架的架设及安 全 情 况全过程旁站、砼取样检查施工放样检查钻孔尺寸、深度、位置等施工质量全过程检查锚杆安装质量、水泥砂浆质量试验全过程旁站检查验收全过程旁站、砼取样监理抽检砼强度施工组织设计配备专业施工人员及设备钢筋、水泥等原材料报验架设施工台架初喷 5cm 砼锚杆施工放样锚杆钻孔施工锚杆下锚、注浆锚杆锚固力试验铺设钢筋网安装钢拱架喷射砼至设计厚度砼强度试验合格合格合格厦蓉高速水格段肇兴隧道专项监理细则 流程图 附图十 二次衬砌施工工艺质量控制流程图监理程序 施工程序审批开工报告检查验收检查验收全过程旁站检查开工报告初砌前自检中线,标高、断面尺寸自检衬砌台车浇筑二衬砼检查验收签认《中间交工证书》二衬砼拆模二衬砼养护自检砼强度试验填报《中间交工证书》监理抽检砼强度试验厦蓉高速水格段...

1、盘古文库是"C2C"交易模式,即卖家上传的文档直接由买家下载,本站只是中间服务平台,本站所有文档下载的收益归上传人(卖家)所有,作为网络服务商,若您的权利被侵害请及时联系右侧客服。

2、本站默认下载后的格式为 docx,pptx ,xlsx,pdf,zippsd等源文件。office等工具即可编辑!源码类文件除外。

3、如您看到网页展示的内容中含有'"133KU.COM"等水印,是因预览和防盗链技术需要对页面进行转换和压缩成图片所生成,文档下载后不会有该内容标识.

4、本站所有内容均由合作方上传,本站不对文档的完整性、权威性及其观点立场正确性做任何保证或承诺,文档内容仅供研究参考,付费前请自行鉴别。如您付费,意味着您自己接受本站规则且自行承担风险,本站不退款、不进行额外附加服务。

在点击下载本文档时,弹出的对话框中,选择“使用浏览器下载”不支持下载工具多线程下载!

部分浏览图可能存在变形的情况,下载后为高清文件,可直接编辑。

隧道专项监理细则流程图--监理工作流程

莲生六十一+ 关注
机构认证
内容提供者

该用户很懒,什么也没介绍

确认删除?
回到顶部